首页
协会介绍
协会简介
协会章程
组织架构
秘书处
通知公告
行业新闻
协会动态
协会动态
协会刊物
党建动态
学习园地
二十大专题
党史学习教育
支部新闻
数据中心
行业重要数据
价格信息
库存信息
会员名录
政策法规
国家政策
省级政策
会员登陆
会员中心
联系我们
在线留言
加入协会
通知公告:
广东省能源局关于征集能源产业科技创新有关材料的通知
2024-08-29
r
关于表彰第一批2023年度广东省能源行业保供先进单位和先进个人的决定
2024-06-20
r
关于表彰2023年度能源行业保供先进单位和个人的通知
2024-05-30
r
广东省能源运销协会关于组织开展碳汇计量评估师(5月份)培训班的通知
2024-05-10
r
广东省能源运销协会关于组织开展碳排放管理课程(4月份)培训班的通知
2024-04-11
r
数据中心
行业重要数据
价格信息
库存信息
协会简介
协会章程
组织架构
秘书处
当前位置:
首页
>>
数据中心
>>
重要指数
>>
查看详情
重要指数
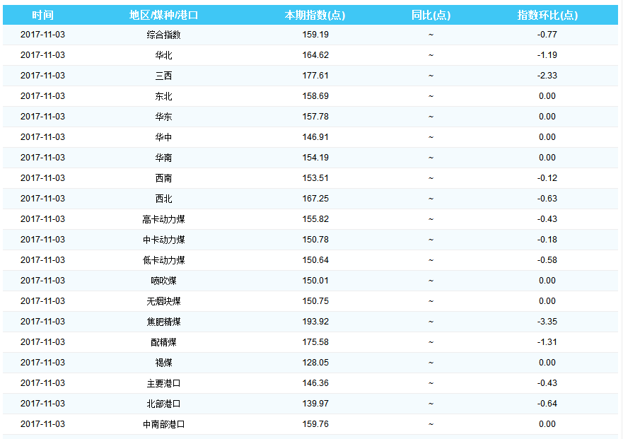
2017年11月3日中国煤炭价格指数
来源:
广东省能源运销协会
日期:
2017-11-10 16:21:00
点击:
338
属于:
重要指数
上一:
2017年11月8日环渤海动力煤价格指数
下一:
2017年10月20日理查德湾动力煤价格
RELATEDARTICLES
暂无信息
友情链接
首页
|
协会介绍
|
通知公告
|
行业新闻
|
协会动态
|
党建动态
|
数据中心
|
会员名录
|
政策法规
|
会员登陆
|
会员中心
|
联系我们
|
加入协会
联系人:
刘小姐
电话:
020-38932352
传真:
020-38932359
邮件:
gd0928@163.com
网址:
http://www.gdetsa.org.cn
地址:
广州市荔湾区沙面大街64号首层
广东省能源运销协会
版权所有 2023-2028
粤ICP备19148317号
技术支持:
广州网昱计算机有限公司
扫一扫关注